產品介紹
VA型手扳葫蘆是-種輕小型,多用途手動起重,牽引機械,r泛應用于電力,礦山,造船,建筑,運輸,郵電等部門的設備安裝,物品起吊,機件牽引,散件捆綁,線路拉緊及焊接對位等場合,手板葫蘆尤其在狹小的工作場所,野外高空作業和各種不同角度的牽拉更顯其優越性,起吊搬運的理想工具。
VA型手扳葫蘆優點:
1.結構先進,使用安全可靠,經久耐用;2.整機效率高,操作簡單、舒適;3.體積小,自重輕,攜帶方便;4.全部為結構鋼;5.特級的合金鏈條;6.全部為齒輪轉動;
7.齒輪和軸的轉動處都有軸承或軸套;8.產品表面經過噴塑處理。


| 型號model | 0.75T | 1.5T | 3T | 6T | |
| 起重量 T | 0.75 | 1.5 | 3 | 6 | |
| 起升高度 米m | 1.5 | 1.5 | 1.5 | 1.5 | |
| 實驗載荷 噸 t | 9.2 | 18.4 | 36.8 | 73.5 | |
| 手板力 N | 148 | 216 | 336 | 345 | |
| 起重鏈直徑毫米 mm | 6.3 | 7.1 | 9 | 9 | |
| 凈重公斤KG | 6.6 | 11.65 | 21.1 | 23.7 | |
|
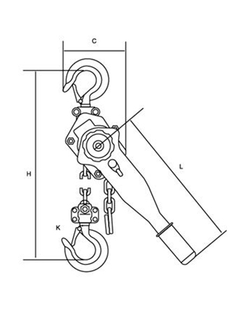
主要尺寸 毫米 mm |
A | 155 | 170 | 198 | 198 |
| B | 128 | 147 | 182 | 230 | |
| C | 310 | 350 | 470 | 590 | |
| D | 240 | 365 | 365 | 365 | |
| G | 28 | 36 | 47 | 49 | |